专利数据库
统计分析
产业报告
专利数据监控
产业人才
行业动态
产业政策法规
维权援助
个人中心
详情
文本
图像
标题
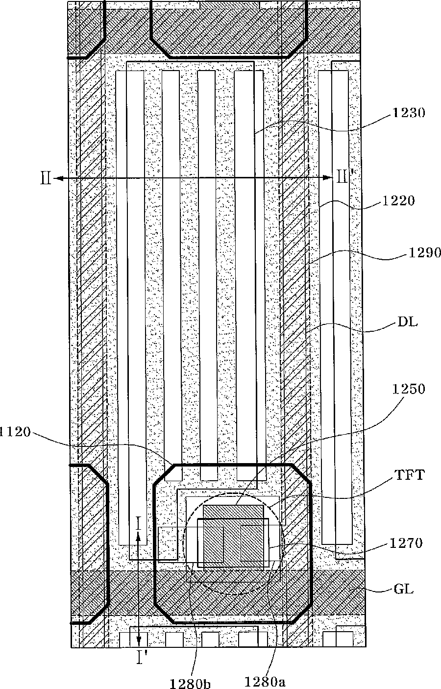
Fringe Field Switching Mode Liquid Crystal Display Device
授权日
1900-01-01
公开(公告)号
US20100171892A1
申请日
2009-12-14
公开(公告)日
2010-07-08
当前申请(专利权)人
HYDIS TECHNOLOGIES CO., LTD.
发明人
LIM, DONG HUN | SONG, JE HOON | JEONG, YOUN HAK | LEE, WON HEE
简单同族
JP2008191669A | JP4962337B2 | TW200903122A | TWI414864B | US20080186440A1 | US20100171892A1 | US7663724 | US8134674
简单同族成员数量
8
简单同族被引用专利总数
178
诉讼案件数
0
法律状态/事件
授权 | 权利转移
抱歉,您的浏览器不支持PDF预览,请点击链接下载PDF文件