专利数据库
统计分析
产业报告
专利数据监控
产业人才
行业动态
产业政策法规
维权援助
个人中心
详情
文本
图像
标题
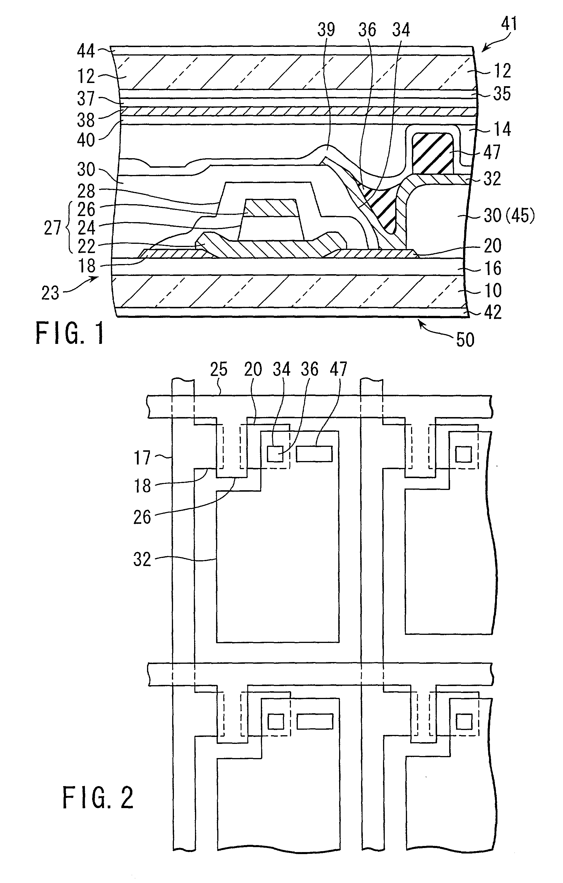
Liquid crystal display apparatus and method for manufacturing liquid crystal display apparatus
授权日
1900-01-01
公开(公告)号
US20020008819A1
申请日
2001-04-27
公开(公告)日
2002-01-24
当前申请(专利权)人
KABUSHIKI KAISHA TOSHIBA
发明人
YOSHIDA, NORIHIRO
简单同族
JP2001311963A | KR100427880B1 | KR1020010098900A | TW527496B | US20020008819A1 | US6362865
简单同族成员数量
6
简单同族被引用专利总数
65
诉讼案件数
0
法律状态/事件
未缴年费 | 权利转移
抱歉,您的浏览器不支持PDF预览,请点击链接下载PDF文件