专利数据库
统计分析
产业报告
专利数据监控
产业人才
行业动态
产业政策法规
维权援助
个人中心
详情
文本
图像
标题
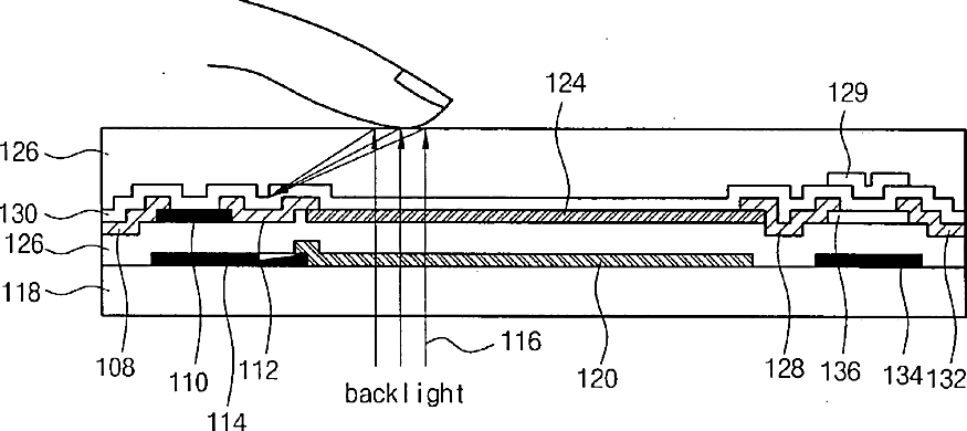
Liquid crystal display device performing both image display mode and fingerprint recognition mode
授权日
1900-01-01
公开(公告)号
US20030174870A1
申请日
2002-12-30
公开(公告)日
2003-09-18
当前申请(专利权)人
BOE-HYDIS TECHNOLOGY CO., LTD.
发明人
KIM, CHOONG HOO | PARK, KYU CHANG | SHIM, MIN SOO
简单同族
JP2003287732A | JP3840595B2 | KR100500692B1 | KR1020030073568A | TW200304011A | TWI237718B | US20030174870A1 | US20080007507A1 | US7418117 | US8723806
简单同族成员数量
10
简单同族被引用专利总数
114
诉讼案件数
0
法律状态/事件
授权 | 权利转移
抱歉,您的浏览器不支持PDF预览,请点击链接下载PDF文件