专利数据库
统计分析
产业报告
专利数据监控
产业人才
行业动态
产业政策法规
维权援助
个人中心
详情
文本
图像
标题
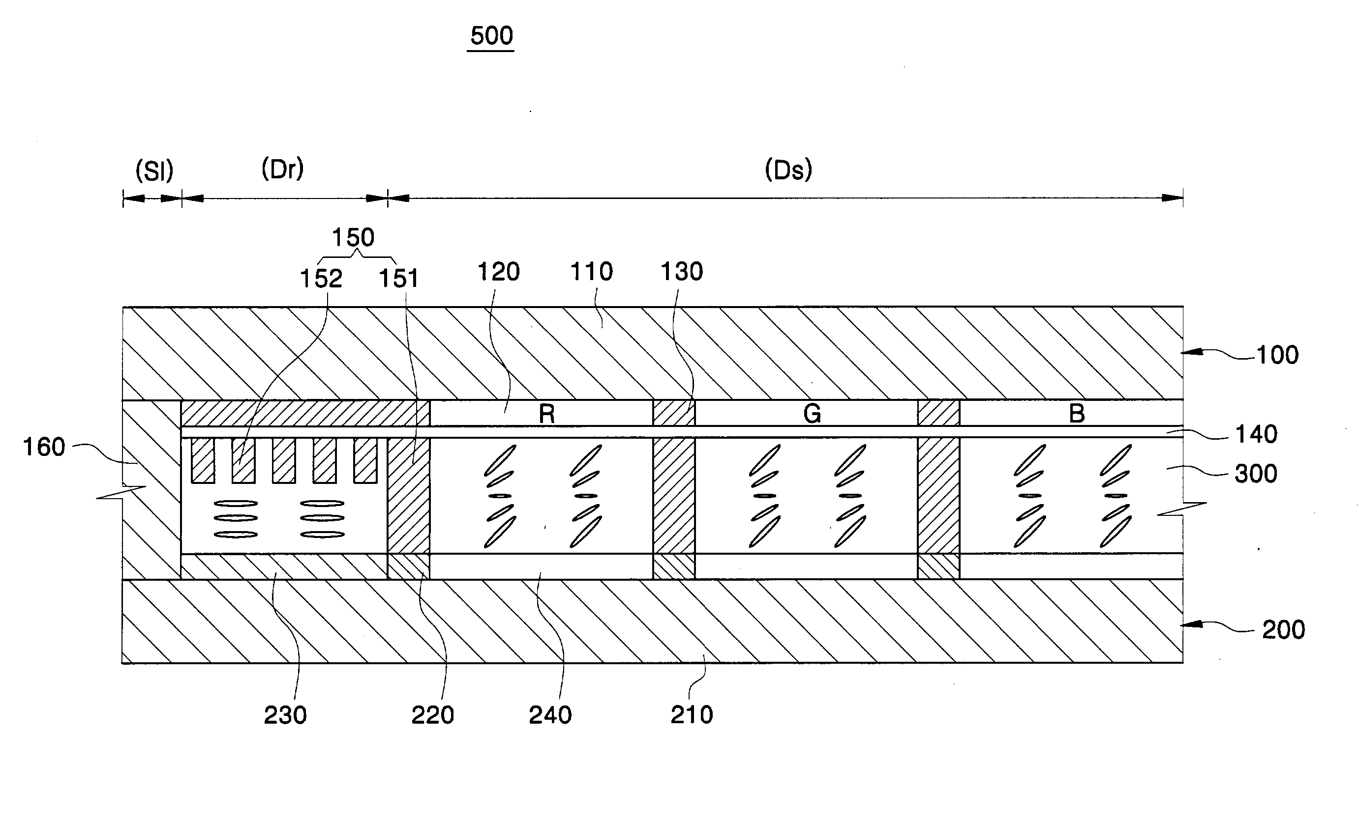
Upper substrate, liquid crystal display apparatus having the same and method of fabricating the same
授权日
1900-01-01
公开(公告)号
US20040017538A1
申请日
2003-05-29
公开(公告)日
2004-01-29
当前申请(专利权)人
SAMSUNG DISPLAY CO., LTD.
发明人
YUN, YOUNG-NAM | PARK, JIN-SUK
简单同族
AU2003232653A1 | JP2005534074A | JP4502806B2 | TW200403489A | TWI341937B | US20040017538A1 | US20060187401A1 | US7061569 | US7375790 | WO2004011998A1
简单同族成员数量
10
简单同族被引用专利总数
67
诉讼案件数
0
法律状态/事件
授权 | 权利转移
抱歉,您的浏览器不支持PDF预览,请点击链接下载PDF文件