专利数据库
统计分析
产业报告
专利数据监控
产业人才
行业动态
产业政策法规
维权援助
个人中心
详情
文本
图像
标题
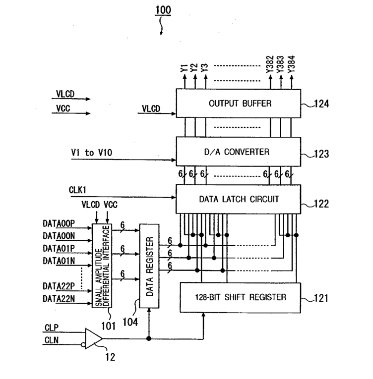
Semiconductor integrated circuit, liquid crystal drive device, and liquid crystal display system
授权日
1900-01-01
公开(公告)号
US20050146493A1
申请日
2001-10-25
公开(公告)日
2005-07-07
当前申请(专利权)人
RENESAS ELECTRONICS CORPORATION | RENESAS TECHNOLOGY CORP.
发明人
KINJO, ARATA | OOKADO, KAZUO | KOTERA, KOUICHI | ODA, HITOSHI | ENDO, MASUHIRO
简单同族
CN100583216C | CN1479913A | JP2011002841A | JP3934551B2 | JPWO2002047063A1 | KR100828225B1 | KR1020030065532A | US20050146493A1 | US20070279357A1 | US20070279358A1 | US20070279404A1 | US7405732 | US8094104 | WO2002047063A1
简单同族成员数量
14
简单同族被引用专利总数
58
诉讼案件数
0
法律状态/事件
授权 | 权利转移
抱歉,您的浏览器不支持PDF预览,请点击链接下载PDF文件