专利数据库
统计分析
产业报告
专利数据监控
产业人才
行业动态
产业政策法规
维权援助
个人中心
详情
文本
图像
标题
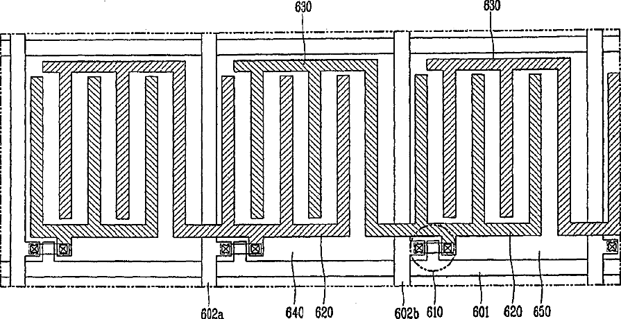
Liquid crystal display device using in-plane switching mode having particular pixel electrodes
授权日
2010-02-02
公开(公告)号
US7656492
申请日
2008-12-29
公开(公告)日
2010-02-02
当前申请(专利权)人
LG. DISPLAY CO., LTD.
发明人
PARK, JONG-JIN
简单同族
CN1797144A | CN1797144B | DE102005027957A1 | DE102005027957B4 | FR2880430A1 | FR2880430B1 | GB0512531D0 | GB2421832A | GB2421832B | JP2006189758A | JP2011209763A | JP5059299B2 | JP5562912B2 | KR101003623B1 | KR1020060077883A | TW200623005A | TWI278822B | US20060146248A1 | US20090174854A1 | US7486362 | US7656492
简单同族成员数量
21
简单同族被引用专利总数
61
诉讼案件数
0
法律状态/事件
授权
抱歉,您的浏览器不支持PDF预览,请点击链接下载PDF文件