专利数据库
统计分析
产业报告
专利数据监控
产业人才
行业动态
产业政策法规
维权援助
个人中心
详情
文本
图像
标题
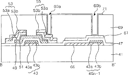
Array substrate of liquid crystal display and fabricating method thereof
授权日
2007-08-14
公开(公告)号
US7256842
申请日
2002-06-28
公开(公告)日
2007-08-14
当前申请(专利权)人
LG DISPLAY CO., LTD.
发明人
HWANG, KWANG JO | KIM, WOO HYUN | KIM, SE JUNE
简单同族
KR100456137B1 | KR1020030004871A | US20030007108A1 | US20070188671A1 | US7256842 | US7522224
简单同族成员数量
6
简单同族被引用专利总数
93
诉讼案件数
0
法律状态/事件
未缴年费 | 权利转移
抱歉,您的浏览器不支持PDF预览,请点击链接下载PDF文件