专利数据库
统计分析
产业报告
专利数据监控
产业人才
行业动态
产业政策法规
维权援助
个人中心
详情
文本
图像
标题
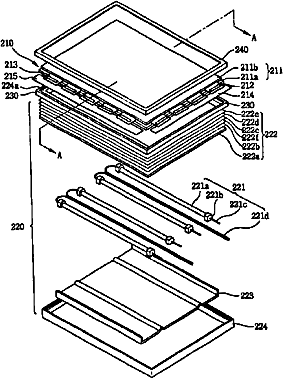
具有噪声屏蔽元件的液晶显示装置
授权日
2008-01-02
公开(公告)号
CN100359385C
申请日
2003-06-03
公开(公告)日
2008-01-02
当前申请(专利权)人
三星显示有限公司
发明人
李正焕 | 朴钟大 | 李汰真 | 崔容硕 | 韩丙雄
简单同族
CN100359385C | CN1479142A | JP2004127912A | JP2004127912A5 | JP4447244B2 | TW200402577A | TWI320503B | US20030223249A1 | US6971780
简单同族成员数量
9
简单同族被引用专利总数
120
诉讼案件数
0
法律状态/事件
授权 | 权利转移
抱歉,您的浏览器不支持PDF预览,请点击链接下载PDF文件