专利数据库
统计分析
产业报告
专利数据监控
产业人才
行业动态
产业政策法规
维权援助
个人中心
详情
文本
图像
标题
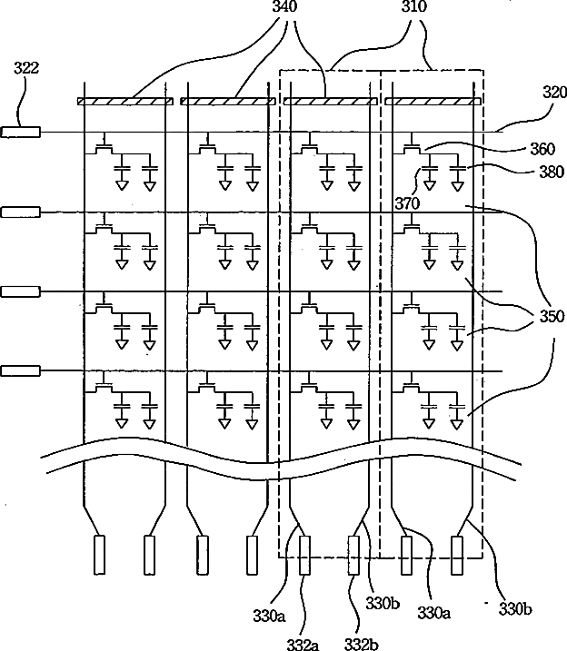
Liquid crystal display element with a defect repairing function
授权日
1900-01-01
公开(公告)号
US20040212753A1
申请日
2004-05-19
公开(公告)日
2004-10-28
当前申请(专利权)人
INNOLUX CORPORATION
发明人
WU, BIING-SENG
简单同族
JP2002023132A | JP4783878B2 | TWI282457B | US20010028429A1 | US20040212753A1 | US6753935 | US7098989
简单同族成员数量
7
简单同族被引用专利总数
117
诉讼案件数
0
法律状态/事件
授权 | 权利转移
抱歉,您的浏览器不支持PDF预览,请点击链接下载PDF文件