专利数据库
统计分析
产业报告
专利数据监控
产业人才
行业动态
产业政策法规
维权援助
个人中心
详情
文本
图像
标题
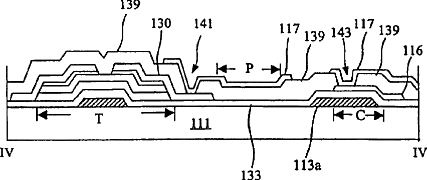
Array substrate for a liquid crystal display and method for fabricating thereof
授权日
2004-09-07
公开(公告)号
US6788357
申请日
2001-10-29
公开(公告)日
2004-09-07
当前申请(专利权)人
LG DISPLAY CO., LTD.
发明人
MOON, KYO-HO
简单同族
KR100726132B1 | KR1020020034272A | US20020051099A1 | US20040227865A1 | US20080213950A1 | US6788357 | US7351621 | US7696026
简单同族成员数量
8
简单同族被引用专利总数
117
诉讼案件数
0
法律状态/事件
授权 | 权利转移
抱歉,您的浏览器不支持PDF预览,请点击链接下载PDF文件