专利数据库
统计分析
产业报告
专利数据监控
产业人才
行业动态
产业政策法规
维权援助
个人中心
详情
文本
图像
标题
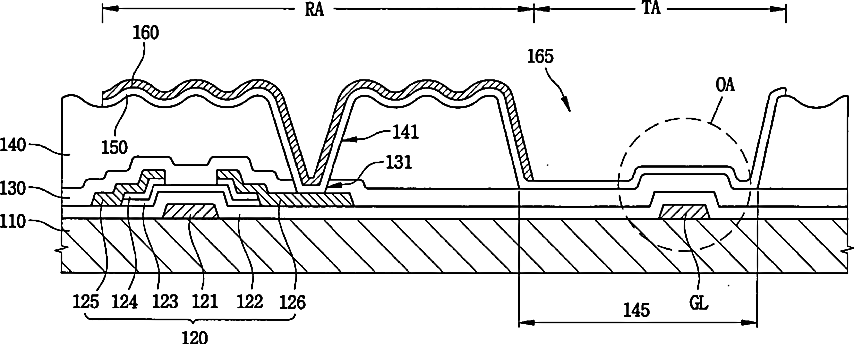
Array substrate and liquid crystal display apparatus having the same
授权日
1900-01-01
公开(公告)号
US20040201803A1
申请日
2004-02-13
公开(公告)日
2004-10-14
当前申请(专利权)人
SAMSUNG DISPLAY CO., LTD.
发明人
YANG, YONG-HO | YOON, JOO-SUN | CHOO, KYO-SEOP | PARK, JIN-SUK
简单同族
JP2004310110A | JP4677198B2 | KR100931681B1 | KR1020040087469A | TW200502628A | TWI365313B | US20040201803A1 | US20070139336A1 | US20070141765A1 | US7196766 | US7289188 | US7541223
简单同族成员数量
12
简单同族被引用专利总数
57
诉讼案件数
0
法律状态/事件
授权 | 权利转移
抱歉,您的浏览器不支持PDF预览,请点击链接下载PDF文件