专利数据库
统计分析
产业报告
专利数据监控
产业人才
行业动态
产业政策法规
维权援助
个人中心
详情
文本
图像
标题
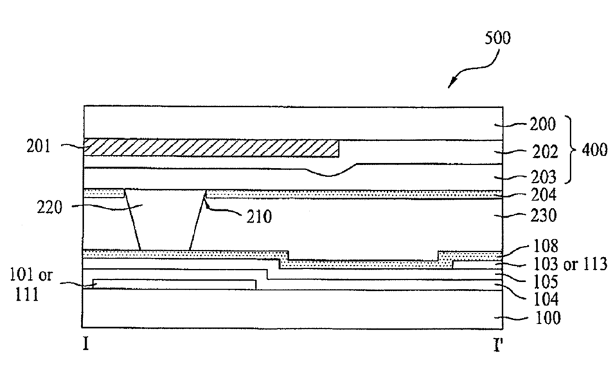
Liquid crystal display device and method for fabricating the same having spacer in alignment groove in which the groove width is greater than the spacer diameter
授权日
1900-01-01
公开(公告)号
US20100253894A1
申请日
2010-04-07
公开(公告)日
2010-10-07
当前申请(专利权)人
LG DISPLAY CO., LTD.
发明人
YOON, SUNG HOE
简单同族
CN1854867A | CN1854867B | DE102005060982A1 | DE102005060982B4 | FR2884935A1 | FR2884935B1 | GB0525056D0 | GB2425391A | GB2425391B | JP2006301575A | JP4496159B2 | KR1020060110936A | TW200638092A | TWI334500B | US20060238693A1 | US20100253894A1 | US7880855 | US7907242
简单同族成员数量
18
简单同族被引用专利总数
52
诉讼案件数
0
法律状态/事件
授权
抱歉,您的浏览器不支持PDF预览,请点击链接下载PDF文件