专利数据库
统计分析
产业报告
专利数据监控
产业人才
行业动态
产业政策法规
维权援助
个人中心
详情
文本
图像
标题
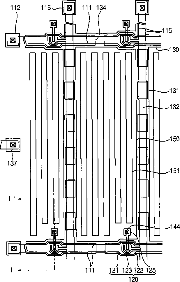
Array substrate having common electrode with slits that overlap data lines, and liquid crystal display apparatus having the array substrate
授权日
2012-04-17
公开(公告)号
US8159641
申请日
2009-04-02
公开(公告)日
2012-04-17
当前申请(专利权)人
SAMSUNG DISPLAY CO., LTD.
发明人
HAM, YEON-SIK | JEON, YEON-MUN | HER, YONG-KOO
简单同族
CN101625493A | JP2010020289A | JP5788131B2 | KR1020100005883A | US20100007837A1 | US20120193630A1 | US20140138693A1 | US8159641 | US8643815 | US9281320
简单同族成员数量
10
简单同族被引用专利总数
88
诉讼案件数
0
法律状态/事件
未缴年费 | 权利转移
抱歉,您的浏览器不支持PDF预览,请点击链接下载PDF文件