专利数据库
统计分析
产业报告
专利数据监控
产业人才
行业动态
产业政策法规
维权援助
个人中心
详情
文本
图像
标题
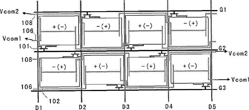
Liquid crystal panel, liquid crystal display, and driving method thereof
授权日
2012-07-24
公开(公告)号
US8228274
申请日
2008-12-16
公开(公告)日
2012-07-24
当前申请(专利权)人
INFOVISION OPTOELECTRONICS (KUNSHAN) CO., LTD.
发明人
CHUNG, TE-CHEN | LIAO, CHIA-TE | CHIU, YU-WEN
简单同族
CN101308271A | CN101308271B | US20090322660A1 | US8228274
简单同族成员数量
4
简单同族被引用专利总数
56
诉讼案件数
0
法律状态/事件
授权 | 权利转移
抱歉,您的浏览器不支持PDF预览,请点击链接下载PDF文件