专利数据库
统计分析
产业报告
专利数据监控
产业人才
行业动态
产业政策法规
维权援助
个人中心
详情
文本
图像
标题
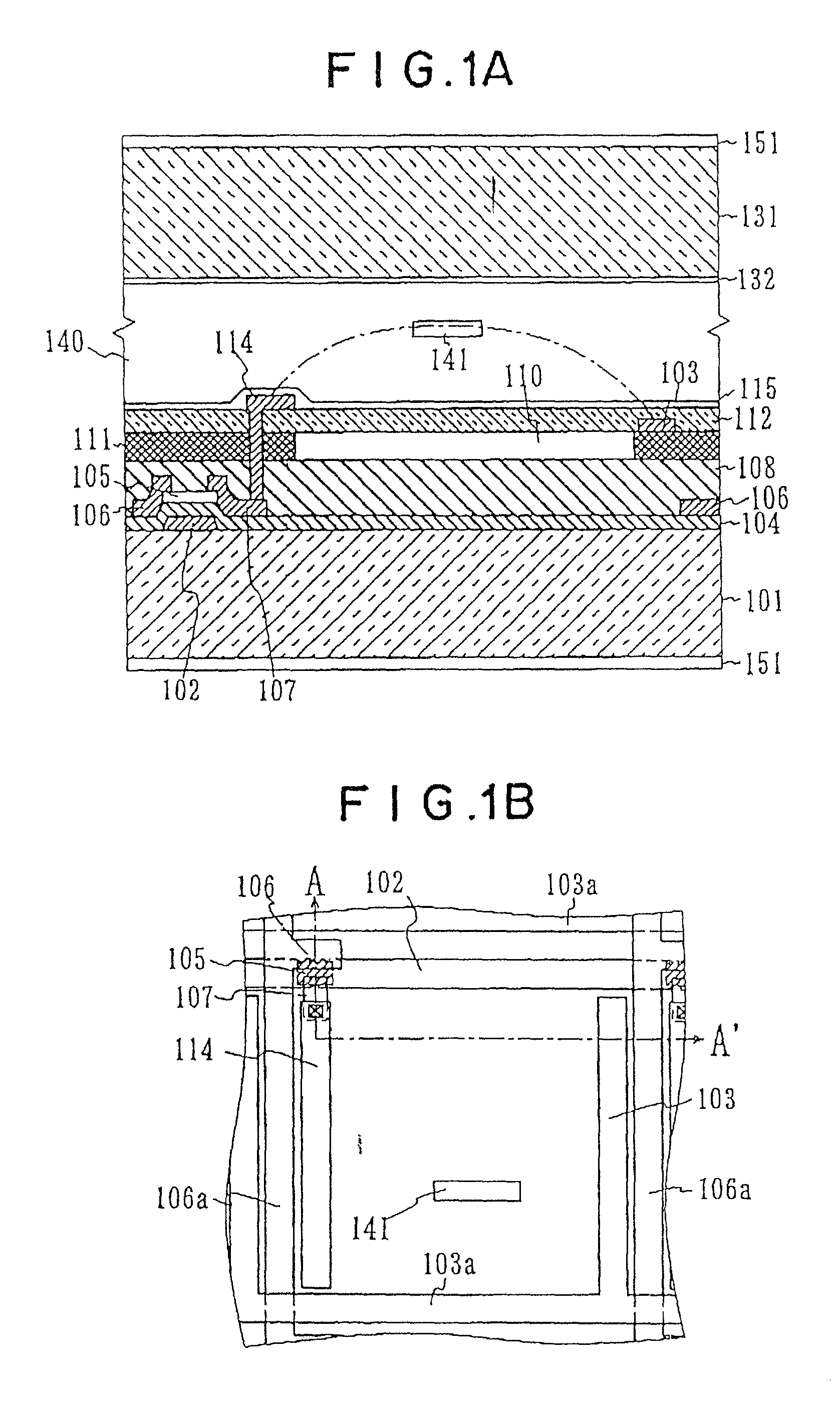
Liquid crystal display device and method of manufacturing the same
授权日
1900-01-01
公开(公告)号
US20010026344A1
申请日
2001-05-09
公开(公告)日
2001-10-04
当前申请(专利权)人
NEC LCD TECHNOLOGIES, LTD.
发明人
SAKAMOTO, MICHIAKI
简单同族
JP2000111957A | JP3114723B2 | KR100359355B1 | KR1020000017034A | TW581907B | US20010026344A1 | US20020024627A1 | US20080074586A1 | US7561238
简单同族成员数量
9
简单同族被引用专利总数
102
诉讼案件数
0
法律状态/事件
撤回 | 权利转移
抱歉,您的浏览器不支持PDF预览,请点击链接下载PDF文件