专利数据库
统计分析
产业报告
专利数据监控
产业人才
行业动态
产业政策法规
维权援助
个人中心
详情
文本
图像
标题
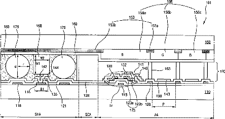
Gate-in-panel type liquid crystal display device with shortage preventing pattern at connection pattern and method of fabricating the same
授权日
2009-09-01
公开(公告)号
US7583350
申请日
2006-06-15
公开(公告)日
2009-09-01
当前申请(专利权)人
LG DISPLAY CO., LTD.
发明人
CHANG, BYUNG-HOON | KIM, MIN-JUNG
简单同族
CN100485469C | CN1975519A | JP2007156414A | JP4473236B2 | KR101146527B1 | KR1020070056553A | US20070120152A1 | US20090290085A1 | US7583350 | US8334962
简单同族成员数量
10
简单同族被引用专利总数
101
诉讼案件数
0
法律状态/事件
授权 | 权利转移
抱歉,您的浏览器不支持PDF预览,请点击链接下载PDF文件