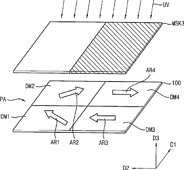
Alignment substrate for aligning liquid crystal molecules, liquid crystal display panel having the same, and method of manufacturing the alignment substrate
授权日
1900-01-01
公开(公告)号
US20100157223A1
申请日
2009-11-17
公开(公告)日
2010-06-24
当前申请(专利权)人
SAMSUNG DISPLAY CO., LTD.
发明人
SHIN, YONG-HWAN | JEON, BAEK-KYUN | KIM, KYOUNG-TAE | SEO, BONG-SUNG | JUNG, MEE-HYE | KIM, YOUNG-GU | JUNG, MIN-SIK | SUNG, BYOUNG-HUN | CHOI, JEONG-HYE | KIM, SUNG-YI