专利数据库
统计分析
产业报告
专利数据监控
产业人才
行业动态
产业政策法规
维权援助
个人中心
详情
文本
图像
标题
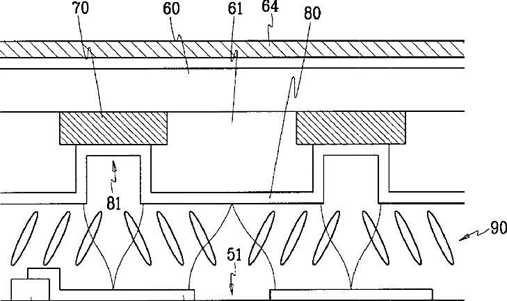
Liquid crystal display with color filter having depressed portion for wide viewing angle
授权日
2003-07-15
公开(公告)号
US6593982
申请日
2000-12-04
公开(公告)日
2003-07-15
当前申请(专利权)人
SAMSUNG DISPLAY CO., LTD.
发明人
YOON, YEA-SUN | PARK, SEUNG-BEOM | NA, BYOUNG-SUN
简单同族
US20010007487A1 | US20030210362A1 | US6593982 | US6930740
简单同族成员数量
4
简单同族被引用专利总数
132
诉讼案件数
0
法律状态/事件
期限届满 | 权利转移
抱歉,您的浏览器不支持PDF预览,请点击链接下载PDF文件