专利数据库
统计分析
产业报告
专利数据监控
产业人才
行业动态
产业政策法规
维权援助
个人中心
详情
文本
图像
标题
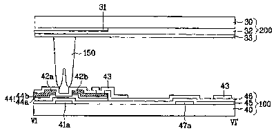
Liquid crystal display device and method for fabricating the same
授权日
2010-11-02
公开(公告)号
US7826026
申请日
2009-06-01
公开(公告)日
2010-11-02
当前申请(专利权)人
LG.PHILIPS LCD CO., LTD.
发明人
YOON, SUNGHOE
简单同族
CN100407024C | CN1693977A | KR100672652B1 | KR1020050105531A | US20050243263A1 | US20090305444A1 | US7557891 | US7826026
简单同族成员数量
8
简单同族被引用专利总数
73
诉讼案件数
0
法律状态/事件
授权 | 权利转移
抱歉,您的浏览器不支持PDF预览,请点击链接下载PDF文件