专利数据库
统计分析
产业报告
专利数据监控
产业人才
行业动态
产业政策法规
维权援助
个人中心
详情
文本
图像
标题
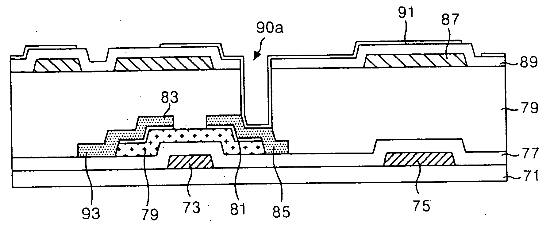
Array substrate of liquid crystal display and fabricating method thereof
授权日
1900-01-01
公开(公告)号
US20070019124A1
申请日
2006-09-28
公开(公告)日
2007-01-25
当前申请(专利权)人
LG DISPLAY CO., LTD.
发明人
KIM, WOO HYUN
简单同族
KR100620847B1 | KR1020020092720A | US20020180901A1 | US20070019124A1 | US7133087 | US7425997
简单同族成员数量
6
简单同族被引用专利总数
101
诉讼案件数
0
法律状态/事件
授权 | 权利转移
抱歉,您的浏览器不支持PDF预览,请点击链接下载PDF文件