专利数据库
统计分析
产业报告
专利数据监控
产业人才
行业动态
产业政策法规
维权援助
个人中心
详情
文本
图像
标题
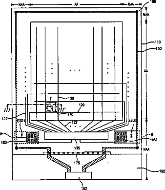
Array substrate for liquid crystal display device
授权日
2011-06-07
公开(公告)号
US7956945
申请日
2008-12-01
公开(公告)日
2011-06-07
当前申请(专利权)人
LG DISPLAY CO., LTD.
发明人
KIM, BUNG-GOO
简单同族
CN101604103A | CN101604103B | KR101033463B1 | KR1020090129803A | US20090310051A1 | US7956945
简单同族成员数量
6
简单同族被引用专利总数
64
诉讼案件数
0
法律状态/事件
授权 | 权利转移
抱歉,您的浏览器不支持PDF预览,请点击链接下载PDF文件