专利数据库
统计分析
产业报告
专利数据监控
产业人才
行业动态
产业政策法规
维权援助
个人中心
详情
文本
图像
标题
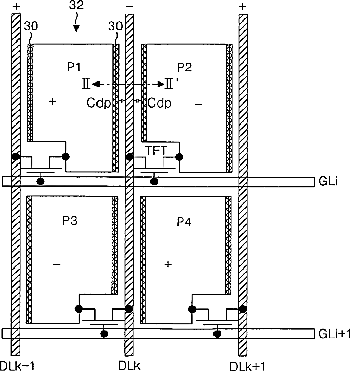
Liquid crystal display panel
授权日
1900-01-01
公开(公告)号
US20100060812A1
申请日
2009-11-16
公开(公告)日
2010-03-11
当前申请(专利权)人
LG DISPLAY CO., LTD.
发明人
SONG, HONG SUNG | YUN, SAI CHANG | YUN, SANG CHANG | LEE, JAE WOO
简单同族
KR1020050000653A | US20040263710A1 | US20080062342A1 | US20100060812A1 | US20120268679A1 | US7304691 | US7633569 | US8212952 | US8654269
简单同族成员数量
9
简单同族被引用专利总数
99
诉讼案件数
0
法律状态/事件
授权 | 权利转移
抱歉,您的浏览器不支持PDF预览,请点击链接下载PDF文件