专利数据库
统计分析
产业报告
专利数据监控
产业人才
行业动态
产业政策法规
维权援助
个人中心
详情
文本
图像
标题
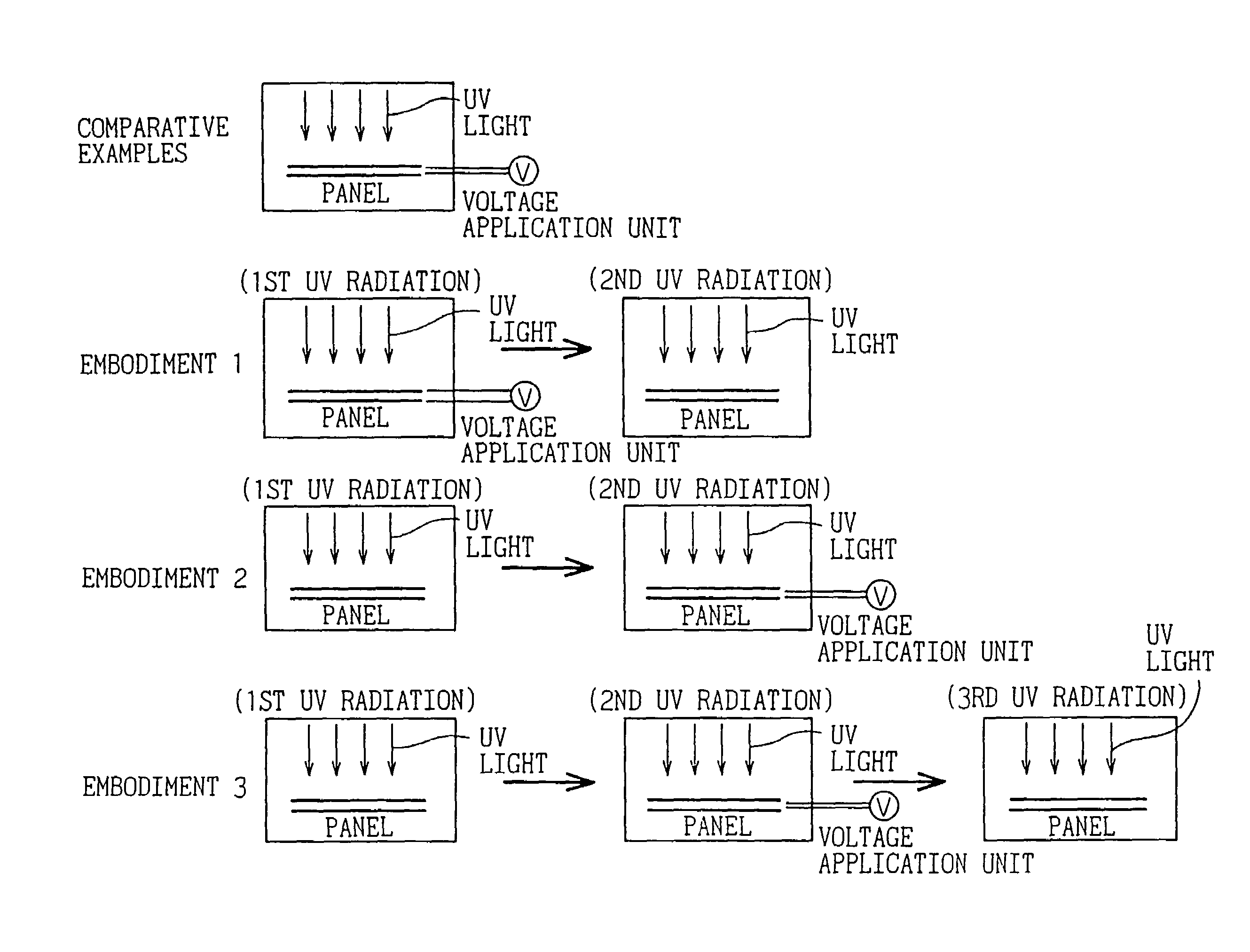
Liquid crystal display device and method of fabricating the same
授权日
2006-11-14
公开(公告)号
US7136119
申请日
2004-07-16
公开(公告)日
2006-11-14
当前申请(专利权)人
SHARP KABUSHIKI KAISHA
发明人
INOUE, HIROYASU | NAGAOKA, KENICHI | NAKAHATA, YUJI | TANIGUCHI, YOJI
简单同族
US20030095229A1 | US20040169790A1 | US20040174471A1 | US20040246406A1 | US20040263719A1 | US20050018105A1 | US20050024556A1 | US20050030445A1 | US6778229 | US6825892 | US6894741 | US6894742 | US6937300 | US7136119 | US7324175 | US7450206
简单同族成员数量
16
简单同族被引用专利总数
179
诉讼案件数
0
法律状态/事件
授权 | 权利转移
抱歉,您的浏览器不支持PDF预览,请点击链接下载PDF文件