专利数据库
统计分析
产业报告
专利数据监控
产业人才
行业动态
产业政策法规
维权援助
个人中心
详情
文本
图像
标题
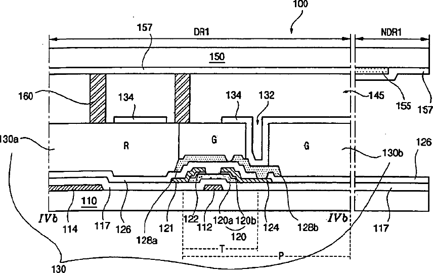
Liquid crystal display device and method of fabricating the same
授权日
1900-01-01
公开(公告)号
US20090303407A1
申请日
2009-08-10
公开(公告)日
2009-12-10
当前申请(专利权)人
LG DISPLAY CO., LTD.
发明人
LEE, DONG-HOON
简单同族
CN100383649C | CN1693973A | DE102004037013A1 | DE102004037013B4 | KR101003829B1 | KR1020050105579A | US20050243235A1 | US20090303407A1 | US7586555 | US7973869
简单同族成员数量
10
简单同族被引用专利总数
79
诉讼案件数
0
法律状态/事件
授权 | 权利转移
抱歉,您的浏览器不支持PDF预览,请点击链接下载PDF文件