专利数据库
统计分析
产业报告
专利数据监控
产业人才
行业动态
产业政策法规
维权援助
个人中心
详情
文本
图像
标题
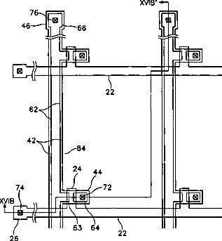
Thin film transistor array panel for a liquid crystal display and a method for manufacturing the same
授权日
2006-11-21
公开(公告)号
US7139045
申请日
2004-07-07
公开(公告)日
2006-11-21
当前申请(专利权)人
SAMSUNG ELECTRONICS CO., LTD.
发明人
BAEK, BUM-KEE | KONG, HYANG-SHIK | KIM, DAL-MOE
简单同族
JP2000131719A | JP4413337B2 | US20030038901A1 | US20030053006A1 | US20040241895A1 | US20060285027A1 | US6493048 | US6650379 | US6768521 | US7139045 | US7605875
简单同族成员数量
11
简单同族被引用专利总数
171
诉讼案件数
0
法律状态/事件
期限届满 | 权利转移
抱歉,您的浏览器不支持PDF预览,请点击链接下载PDF文件