专利数据库
统计分析
产业报告
专利数据监控
产业人才
行业动态
产业政策法规
维权援助
个人中心
详情
文本
图像
标题
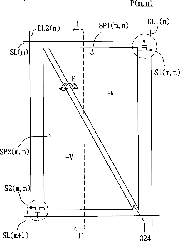
Multi-domain vertical alignment liquid crystal display and driving method thereof
授权日
1900-01-01
公开(公告)号
US20040085272A1
申请日
2002-11-01
公开(公告)日
2004-05-06
当前申请(专利权)人
INNOLUX CORPORATION
发明人
TING, CHIN-LUNG | HUANG, WEN-FU
简单同族
TW200407645A | TWI230830B | US20040085272A1 | US6922183
简单同族成员数量
4
简单同族被引用专利总数
151
诉讼案件数
0
法律状态/事件
未缴年费 | 权利转移
抱歉,您的浏览器不支持PDF预览,请点击链接下载PDF文件