专利数据库
统计分析
产业报告
专利数据监控
产业人才
行业动态
产业政策法规
维权援助
个人中心
详情
文本
图像
标题
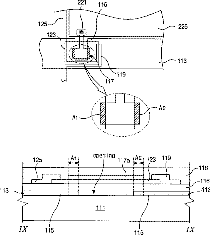
Liquid crystal display device array substrate and method of manufacturing the same
授权日
2003-12-16
公开(公告)号
US6664569
申请日
2001-05-31
公开(公告)日
2003-12-16
当前申请(专利权)人
LG DISPLAY CO., LTD.
发明人
MOON, HONG-MAN
简单同族
DE10127945A1 | DE10127945B4 | FR2810148A1 | FR2810148B1 | GB0113375D0 | GB2368963A | GB2368963B | JP2002057347A | JP4392737B2 | KR100370800B1 | KR1020010111328A | US20010050368A1 | US20040080681A1 | US6664569 | US7075595
简单同族成员数量
15
简单同族被引用专利总数
109
诉讼案件数
0
法律状态/事件
授权 | 权利转移
抱歉,您的浏览器不支持PDF预览,请点击链接下载PDF文件