专利数据库
统计分析
产业报告
专利数据监控
产业人才
行业动态
产业政策法规
维权援助
个人中心
详情
文本
图像
标题
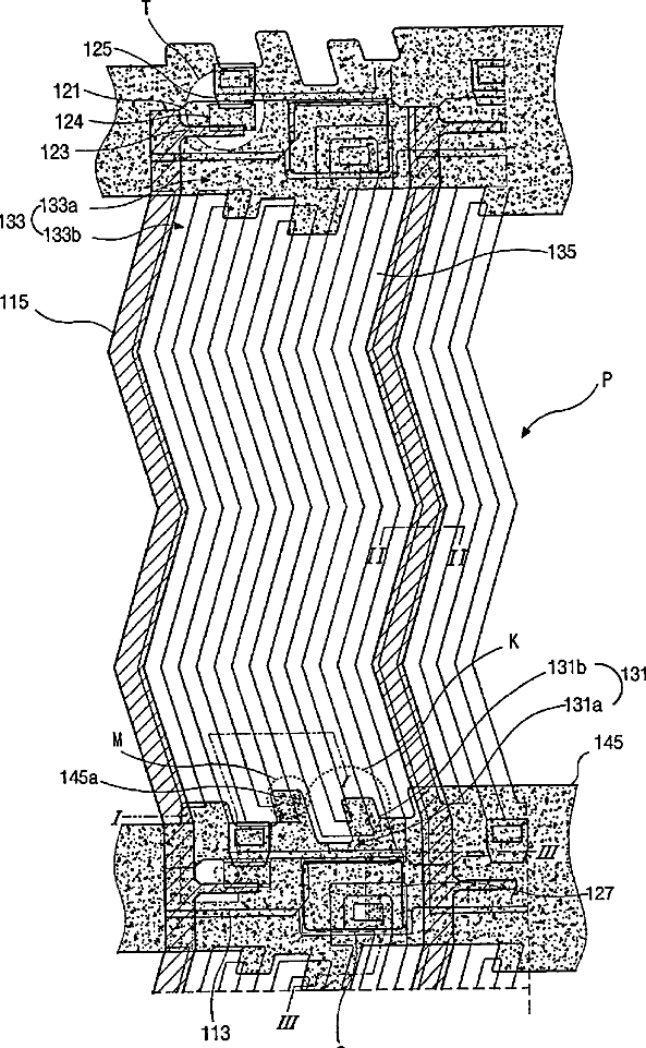
Liquid crystal panel for IPS mode liquid crystal display device and method for fabricating the same
授权日
1900-01-01
公开(公告)号
US20020085156A1
申请日
2001-12-14
公开(公告)日
2002-07-04
当前申请(专利权)人
LG DISPLAY CO., LTD.
发明人
LEE, YUN-BOK
简单同族
KR100730495B1 | KR1020020046621A | US20020085156A1 | US6459465
简单同族成员数量
4
简单同族被引用专利总数
127
诉讼案件数
0
法律状态/事件
授权 | 权利转移
抱歉,您的浏览器不支持PDF预览,请点击链接下载PDF文件