专利数据库
统计分析
产业报告
专利数据监控
产业人才
行业动态
产业政策法规
维权援助
个人中心
详情
文本
图像
标题
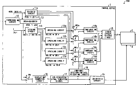
Control device for liquid crystal display device, liquid crystal display device, method for controlling liquid crystal display device, program, and storage medium for program
授权日
2015-08-11
公开(公告)号
US9105243
申请日
2009-03-12
公开(公告)日
2015-08-11
当前申请(专利权)人
SHARP KABUSHIKI KAISHA
发明人
SHIOMI, MAKOTO
简单同族
BRPI0912858A2 | CN102016971A | CN102016971B | JP5302961B2 | JPWO2009157221A1 | RU2010142933A | RU2472234C2 | US20110037784A1 | US9105243 | WO2009157221A1
简单同族成员数量
10
简单同族被引用专利总数
56
诉讼案件数
0
法律状态/事件
授权 | 权利转移
抱歉,您的浏览器不支持PDF预览,请点击链接下载PDF文件