专利数据库
统计分析
产业报告
专利数据监控
产业人才
行业动态
产业政策法规
维权援助
个人中心
详情
文本
图像
标题
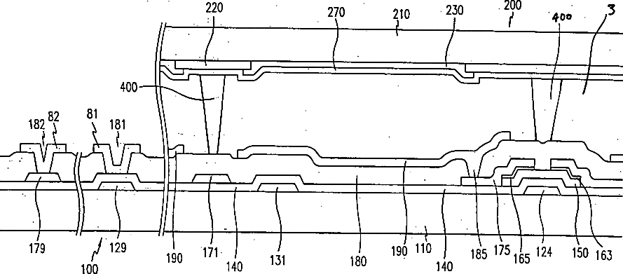
Panel for a liquid crystal display and method of forming the same
授权日
1900-01-01
公开(公告)号
US20070024798A1
申请日
2006-10-04
公开(公告)日
2007-02-01
当前申请(专利权)人
SAMSUNG ELECTRONICS CO., LTD.
发明人
CHOI, WOO | LEE, JUN-YEOB
简单同族
CN100371780C | CN1501129A | JP2004163951A | KR100895306B1 | KR1020040042411A | TW200502623A | TWI307790B | US20040141142A1 | US20070024798A1 | US20080316419A1 | US7142277 | US7428033 | US8027016
简单同族成员数量
13
简单同族被引用专利总数
78
诉讼案件数
0
法律状态/事件
授权 | 权利转移
抱歉,您的浏览器不支持PDF预览,请点击链接下载PDF文件