专利数据库
统计分析
产业报告
专利数据监控
产业人才
行业动态
产业政策法规
维权援助
个人中心
详情
文本
图像
标题
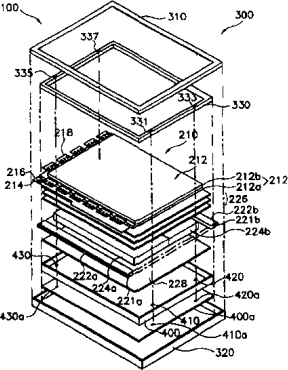
液晶显示模块、液晶显示装置及其组装的方法
授权日
1900-01-01
公开(公告)号
CN1352406A
申请日
2001-02-22
公开(公告)日
2002-06-05
当前申请(专利权)人
三星显示有限公司
发明人
柳浩汉 | 郭熙峻
简单同族
CN1226657C | CN1352406A | JP2002156622A | JP4740466B2 | KR100656549B1 | KR1020020035914A | TW567356B | US20020054249A1 | US7724315
简单同族成员数量
9
简单同族被引用专利总数
71
诉讼案件数
0
法律状态/事件
授权 | 权利转移
抱歉,您的浏览器不支持PDF预览,请点击链接下载PDF文件