专利数据库
统计分析
产业报告
专利数据监控
产业人才
行业动态
产业政策法规
维权援助
个人中心
详情
文本
图像
标题
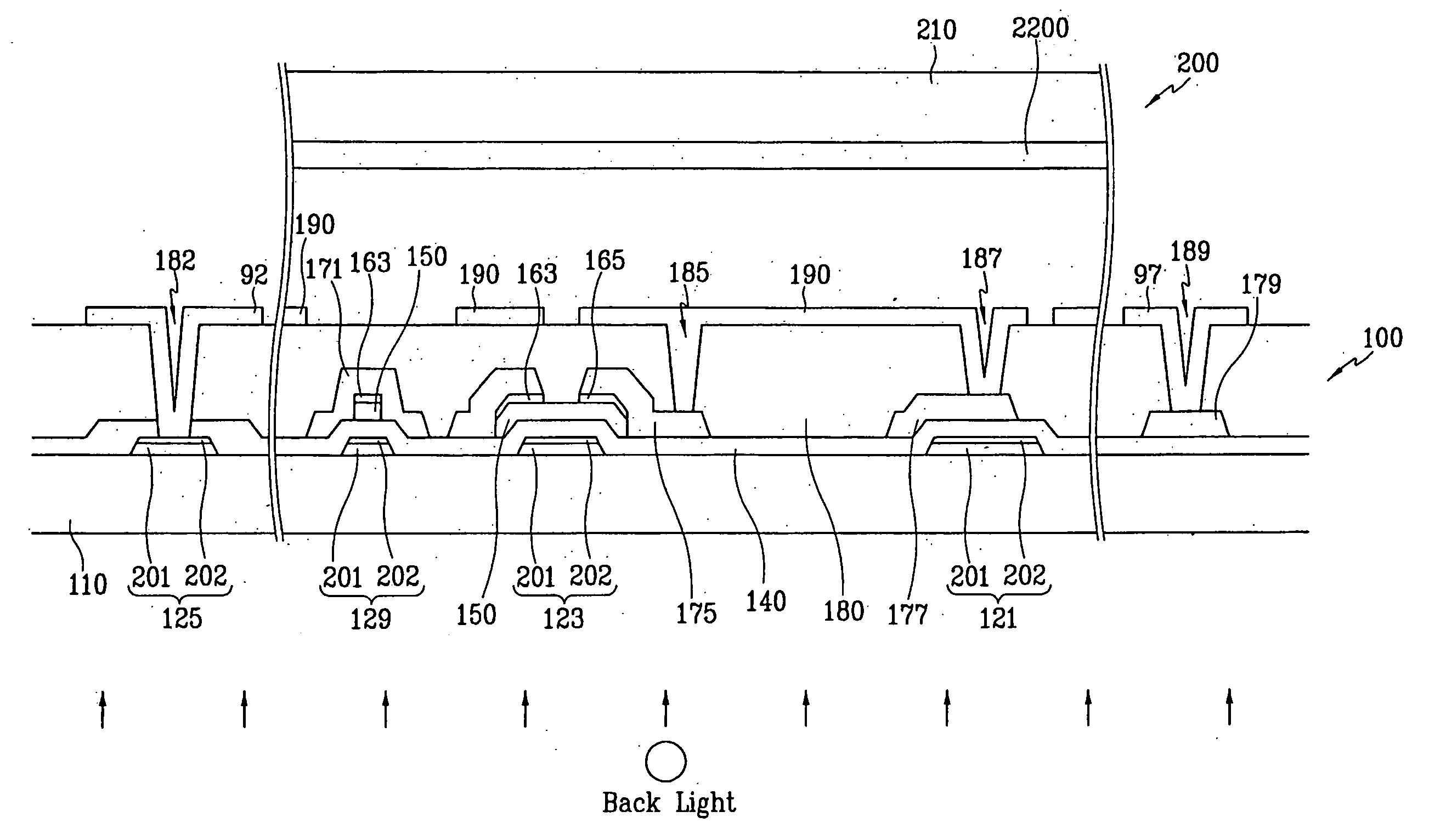
Thin film transistor array panel and liquid crystal display including the panel
授权日
1900-01-01
公开(公告)号
US20040169812A1
申请日
2003-12-17
公开(公告)日
2004-09-02
当前申请(专利权)人
SAMSUNG DISPLAY CO., LTD.
发明人
KIM, DONG-GYU
简单同族
CN100444004C | CN1508612A | JP2004199074A | JP4928712B2 | KR100905472B1 | KR1020040053636A | TW200419519A | TWI357590B | US20040169812A1 | US20090032818A1 | US7436474 | US7768601
简单同族成员数量
12
简单同族被引用专利总数
93
诉讼案件数
0
法律状态/事件
授权 | 权利转移
抱歉,您的浏览器不支持PDF预览,请点击链接下载PDF文件