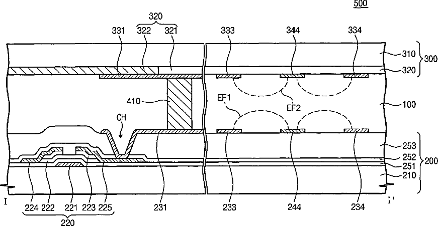
Liquid crystal display panel having first and second sets of pixel and common electrodes on respectively opposed facing substrates with blue phase liquid crystals in which an anisotropic refractive index thereof varies by first and second electric fields respectively adjacent thereto