专利数据库
统计分析
产业报告
专利数据监控
产业人才
行业动态
产业政策法规
维权援助
个人中心
详情
文本
图像
标题
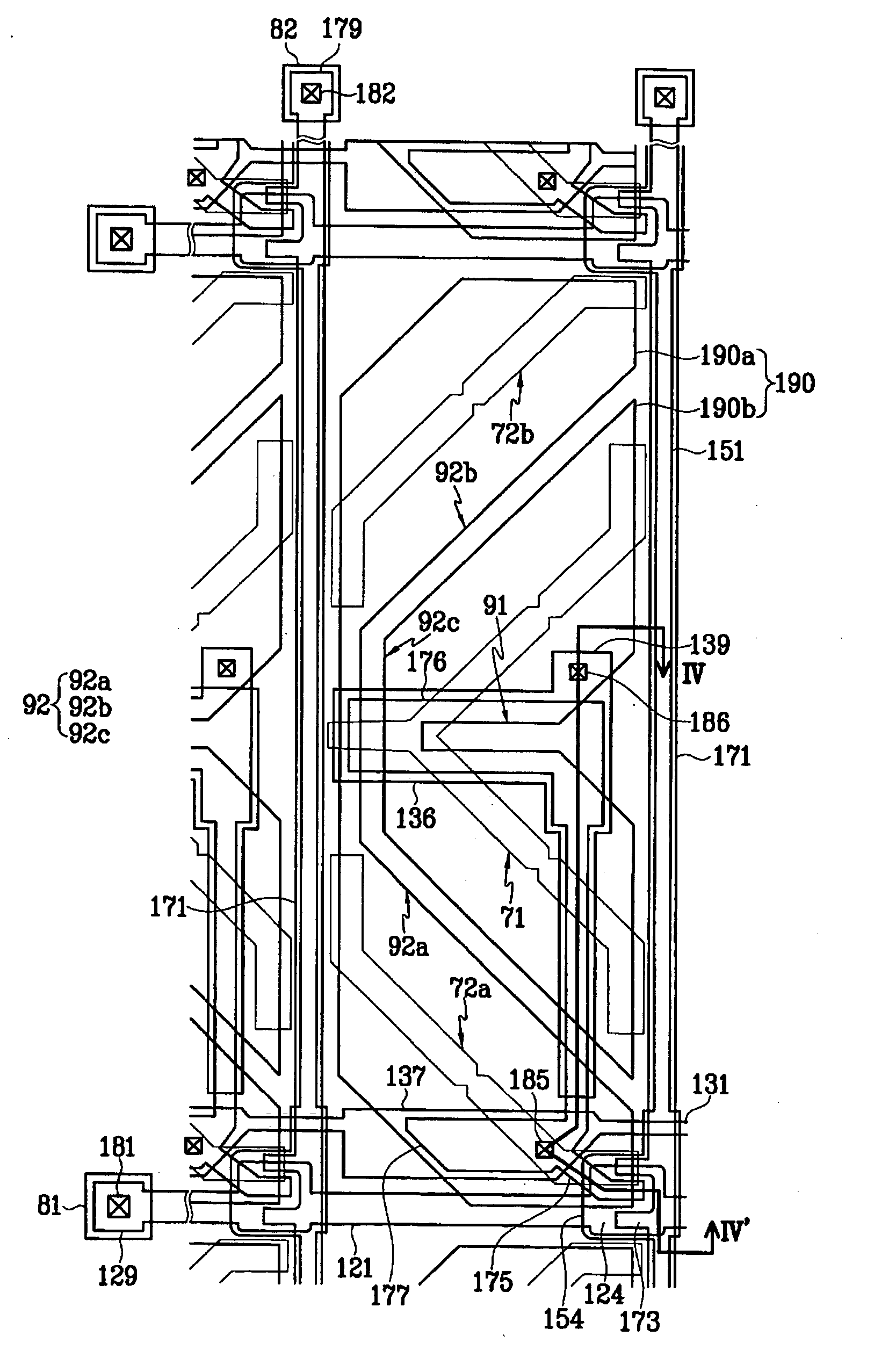
Liquid crystal display and panel therefor
授权日
1900-01-01
公开(公告)号
US20060028590A1
申请日
2005-07-27
公开(公告)日
2006-02-09
当前申请(专利权)人
SAMSUNG DISPLAY CO., LTD.
发明人
SHIN, KYOUNG-JU | LEE, CHANG-HUN | PARK, CHEOL-WOO | CHAI, CHONG-CHUL
简单同族
CN100559251C | CN1755470A | EP1621924A2 | EP1621924A3 | EP1621924B1 | JP2006039567A | JP2006039567A5 | JP4791099B2 | KR101112539B1 | KR1020060010118A | TW200615619A | TWI424221B | US20060028590A1 | US7483090
简单同族成员数量
14
简单同族被引用专利总数
56
诉讼案件数
0
法律状态/事件
授权 | 权利转移
抱歉,您的浏览器不支持PDF预览,请点击链接下载PDF文件