专利数据库
统计分析
产业报告
专利数据监控
产业人才
行业动态
产业政策法规
维权援助
个人中心
详情
文本
图像
标题
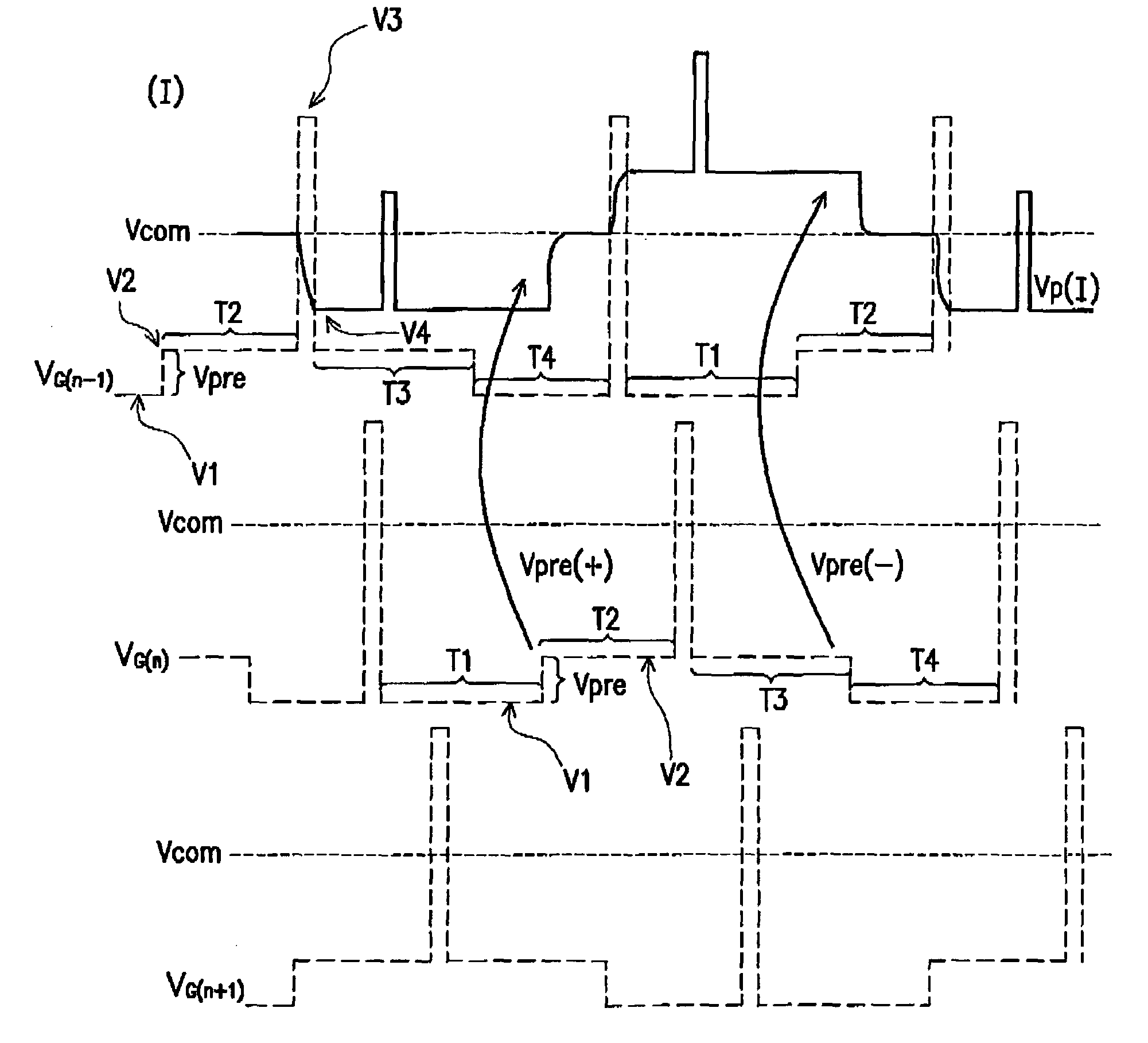
Driving method for a liquid crystal display
授权日
2011-01-04
公开(公告)号
US7864150
申请日
2004-12-16
公开(公告)日
2011-01-04
当前申请(专利权)人
HANNSTAR DISPLAY CORPORATION
发明人
SHIH, PO-SHENG
简单同族
JP2005292793A | JP5303095B2 | TW200534218A | TWI288912B | US20050219187A1 | US7864150
简单同族成员数量
6
简单同族被引用专利总数
59
诉讼案件数
0
法律状态/事件
授权 | 权利转移
抱歉,您的浏览器不支持PDF预览,请点击链接下载PDF文件