专利数据库
统计分析
产业报告
专利数据监控
产业人才
行业动态
产业政策法规
维权援助
个人中心
详情
文本
图像
标题
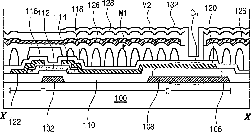
Transflective liquid crystal display device and fabricating method thereof
授权日
1900-01-01
公开(公告)号
US20040124414A1
申请日
2003-06-25
公开(公告)日
2004-07-01
当前申请(专利权)人
LG DISPLAY CO., LTD.
发明人
JANG, SANG-MIN | CHOI, SU-SEOK
简单同族
CN1242298C | CN1514291A | JP2004212952A | JP3857266B2 | KR100936954B1 | KR1020040062167A | TW200411259A | TWI234033B | US20040124414A1 | US6927820
简单同族成员数量
10
简单同族被引用专利总数
79
诉讼案件数
0
法律状态/事件
授权 | 权利转移
抱歉,您的浏览器不支持PDF预览,请点击链接下载PDF文件