专利数据库
统计分析
产业报告
专利数据监控
产业人才
行业动态
产业政策法规
维权援助
个人中心
详情
文本
图像
标题
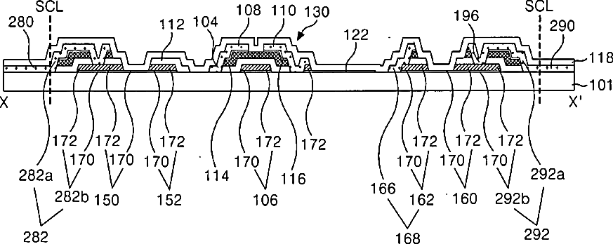
Liquid crystal display panel and fabricating method thereof
授权日
1900-01-01
公开(公告)号
US20050077517A1
申请日
2004-10-13
公开(公告)日
2005-04-14
当前申请(专利权)人
LG DISPLAY CO., LTD.
发明人
CHANG, YOUN-GYOUNG | NAM, SEUNG-HEE
简单同族
CN100371819C | CN1607442A | US20050077517A1 | US7220611
简单同族成员数量
4
简单同族被引用专利总数
56
诉讼案件数
0
法律状态/事件
未缴年费 | 权利转移
抱歉,您的浏览器不支持PDF预览,请点击链接下载PDF文件