专利数据库
统计分析
产业报告
专利数据监控
产业人才
行业动态
产业政策法规
维权援助
个人中心
详情
文本
图像
标题
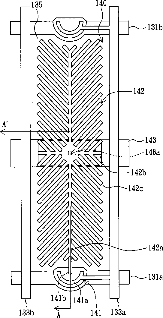
Thin film transistor substrate, liquid crystal panel and liquid crystal display device using the same
授权日
2010-01-19
公开(公告)号
US7649602
申请日
2006-09-26
公开(公告)日
2010-01-19
当前申请(专利权)人
AU OPTRONICS CORP.
发明人
CHEN, YA-CHIEH | CHAN, TE-WEI | FAN, HSIANG-PIN
简单同族
TW200804943A | TWI338183B | US20080007681A1 | US20100085525A1 | US7649602 | US8045113
简单同族成员数量
6
简单同族被引用专利总数
62
诉讼案件数
0
法律状态/事件
授权 | 权利转移
抱歉,您的浏览器不支持PDF预览,请点击链接下载PDF文件