专利数据库
统计分析
产业报告
专利数据监控
产业人才
行业动态
产业政策法规
维权援助
个人中心
详情
文本
图像
标题
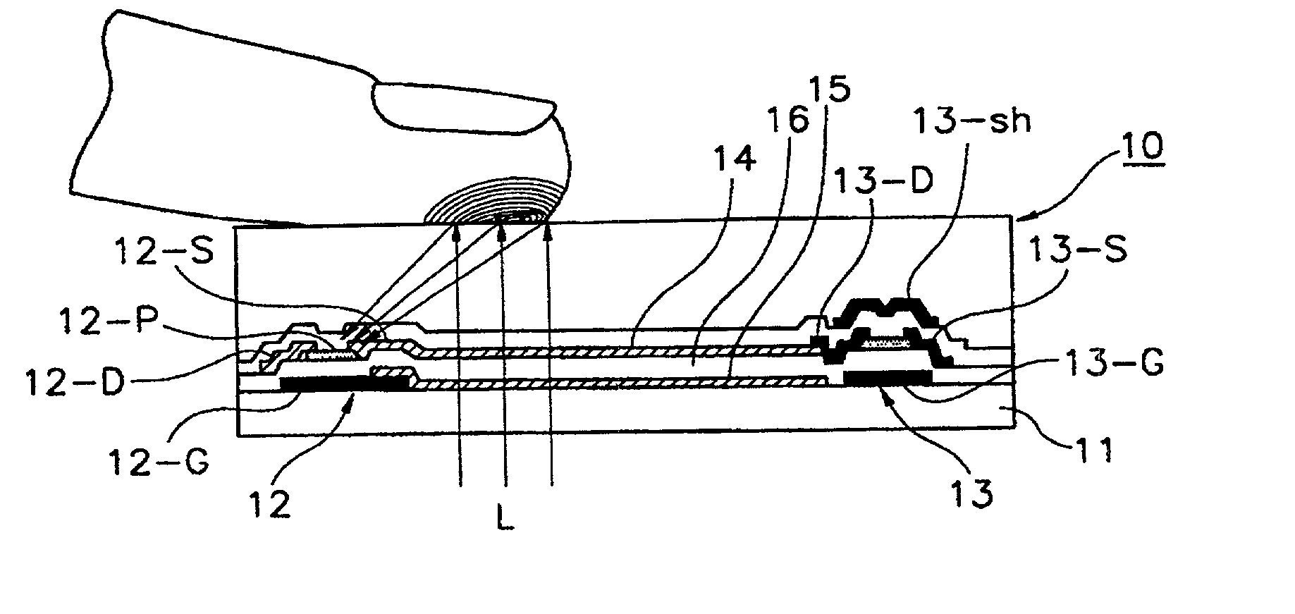
Liquid crystal display and fingerprint capture panel
授权日
1900-01-01
公开(公告)号
US20020163601A1
申请日
2001-12-10
公开(公告)日
2002-11-07
当前申请(专利权)人
SECUGEN CORPORATION
发明人
MIN, KYOUNG IL | RYU, HAN MIN | LEE, KYOUNG TAI | LEE, DONG WON | SHIN, HO KYUN
简单同族
KR1020020028754A | US20020163601A1 | WO2002093239A1
简单同族成员数量
3
简单同族被引用专利总数
87
诉讼案件数
0
法律状态/事件
撤回 | 质押 | 权利转移
抱歉,您的浏览器不支持PDF预览,请点击链接下载PDF文件