专利数据库
统计分析
产业报告
专利数据监控
产业人才
行业动态
产业政策法规
维权援助
个人中心
详情
文本
图像
标题
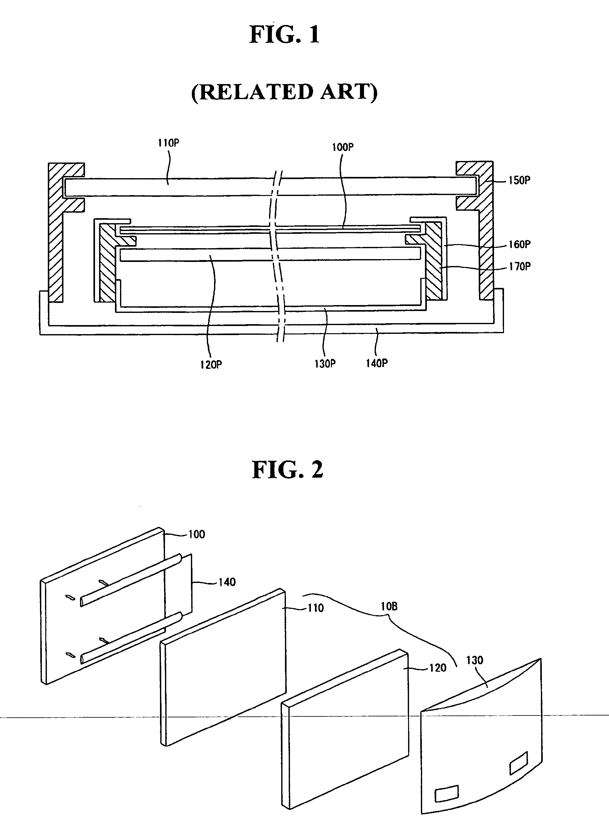
Display apparatus
授权日
2013-10-09
公开(公告)号
EP2447762B1
申请日
2011-10-28
公开(公告)日
2013-10-09
当前申请(专利权)人
LG ELECTRONICS INC.
发明人
BYEON, JONGHYUN | KIM, SUNGHWAN | KIM, YUNJOO | KIM, CHEOLSOO | PARK, SANGDON | LEE, MOUNGYOUB | OH, HYOUNGSUCK | LEE, DEOGJIN
简单同族
CN102652277A | CN102652277B | CN103645578A | CN103645578B | DE202011108259U1 | DE202011110154U1 | DE202011110456U1 | EP2447762A2 | EP2447762A3 | EP2447762B1 | EP2653911A1 | EP2653911B1 | EP2866076A2 | EP2866076A3 | EP2866076B1 | ES2576991T3 | ES2666649T3 | US10524376 | US20120092585A1 | US20130038559A1 | US20140043561A1 | US20140307409A1 | US20160338216A1 | US20180235098A1 | US20200120827A1 | US8319912 | US8482696 | US8605230 | US8797479 | US9433120 | US9980408 | WO2012057582A1
简单同族成员数量
32
简单同族被引用专利总数
74
诉讼案件数
0
法律状态/事件
授权
抱歉,您的浏览器不支持PDF预览,请点击链接下载PDF文件