专利数据库
统计分析
产业报告
专利数据监控
产业人才
行业动态
产业政策法规
维权援助
个人中心
详情
文本
图像
标题
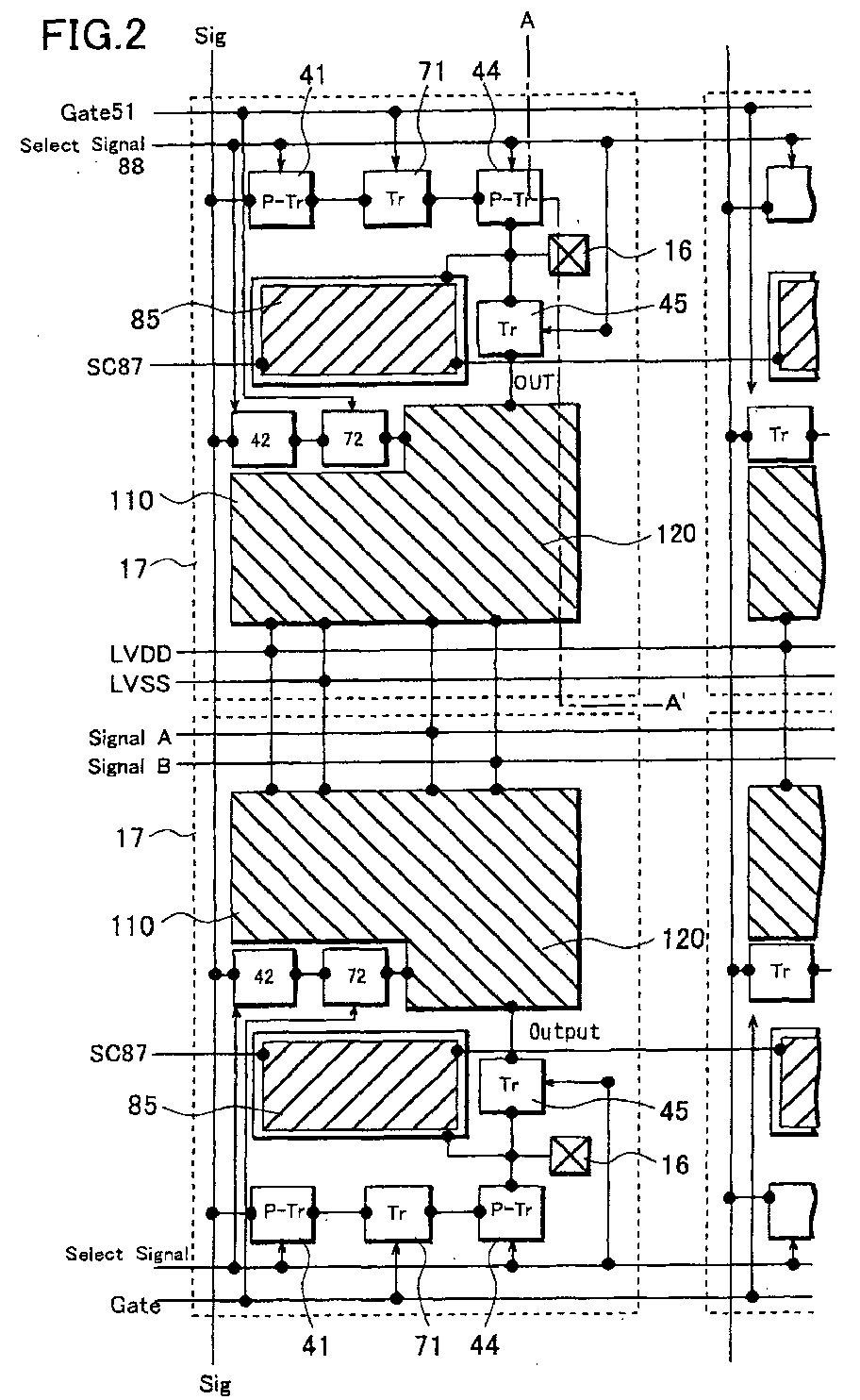
Active matrix display device with pixels having analog and digital memories
授权日
1900-01-01
公开(公告)号
EP1575024A1
申请日
2001-11-06
公开(公告)日
2005-09-14
当前申请(专利权)人
SANYO ELECTRIC CO., LTD.
发明人
MIYAJIMA, YASUSHI
简单同族
EP1204089A1 | EP1204089B1 | EP1575024A1 | US20020057266A1 | US6825834
简单同族成员数量
5
简单同族被引用专利总数
52
诉讼案件数
0
法律状态/事件
撤回
抱歉,您的浏览器不支持PDF预览,请点击链接下载PDF文件