专利数据库
统计分析
产业报告
专利数据监控
产业人才
行业动态
产业政策法规
维权援助
个人中心
详情
文本
图像
标题
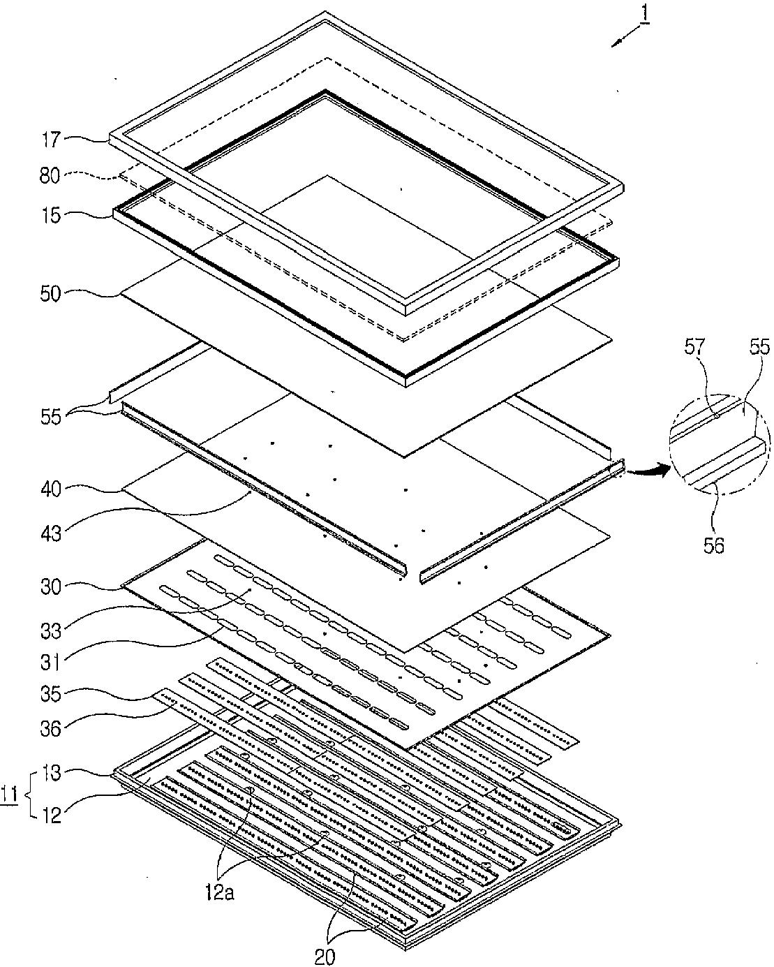
Backlight unit and LCD display apparatus having the same
授权日
1900-01-01
公开(公告)号
EP1815292A4
申请日
2005-07-19
公开(公告)日
2009-10-21
当前申请(专利权)人
SAMSUNG ELECTRONICS CO., LTD.
发明人
LEE, YOU-SUB | NOH, JI-WHAN | KIM, WON-NYUN
简单同族
CN100478761C | CN101057176A | EP1815292A1 | EP1815292A4 | KR100609057B1 | KR1020060055579A | US20060104080A1 | US7275852 | WO2006054821A1
简单同族成员数量
9
简单同族被引用专利总数
105
诉讼案件数
0
法律状态/事件
撤回 | 权利转移
抱歉,您的浏览器不支持PDF预览,请点击链接下载PDF文件