专利数据库
统计分析
产业报告
专利数据监控
产业人才
行业动态
产业政策法规
维权援助
个人中心
详情
文本
图像
标题
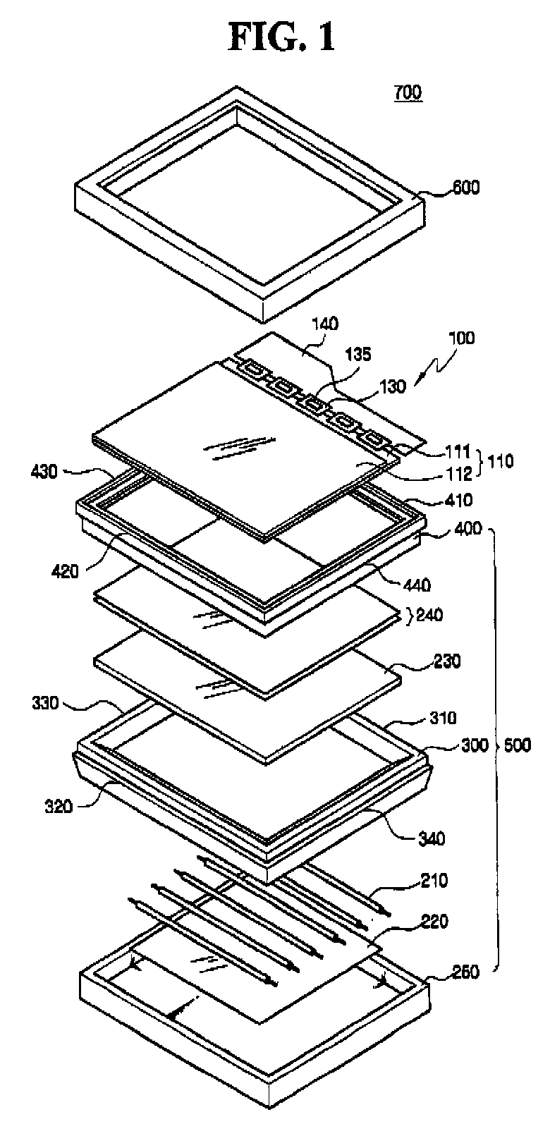
Backlight assembly and liquid crystal display having the same
授权日
1900-01-01
公开(公告)号
EP1895354A2
申请日
2007-07-18
公开(公告)日
2008-03-05
当前申请(专利权)人
SAMSUNG DISPLAY CO., LTD.
发明人
CHANG, WOONG-JAE
简单同族
CN101109870A | CN101109870B | EP1895354A2 | EP1895354A3 | JP2008027884A | JP5030556B2 | KR101363587B1 | KR1020080008063A | US20080252808A1 | US7920221
简单同族成员数量
10
简单同族被引用专利总数
53
诉讼案件数
0
法律状态/事件
撤回 | 权利转移
抱歉,您的浏览器不支持PDF预览,请点击链接下载PDF文件