专利数据库
统计分析
产业报告
专利数据监控
产业人才
行业动态
产业政策法规
维权援助
个人中心
详情
文本
图像
标题
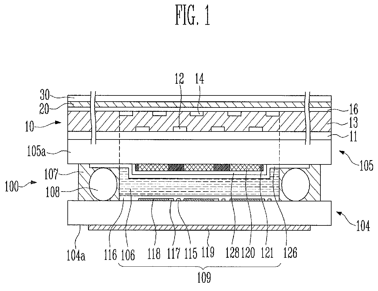
Touch screen panel
授权日
1900-01-01
公开(公告)号
EP2209039A1
申请日
2009-11-17
公开(公告)日
2010-07-21
当前申请(专利权)人
SAMSUNG DISPLAY CO., LTD.
发明人
PARK, JUNG-MOK | JUNG, TAE-HYEOG | KANG, SUNG-KU | LEE, CHOON-HYOP | JEONG, HWAN-HEE | KIM, SHAWN | KIM, SANG-KOOK
简单同族
CN101782694A | CN101782694B | EP2209039A1 | JP2010164938A | KR101022065B1 | KR1020100084258A | US20100182252A1 | US8947368
简单同族成员数量
8
简单同族被引用专利总数
69
诉讼案件数
0
法律状态/事件
撤回 | 权利转移
抱歉,您的浏览器不支持PDF预览,请点击链接下载PDF文件