专利数据库
统计分析
产业报告
专利数据监控
产业人才
行业动态
产业政策法规
维权援助
个人中心
详情
文本
图像
标题
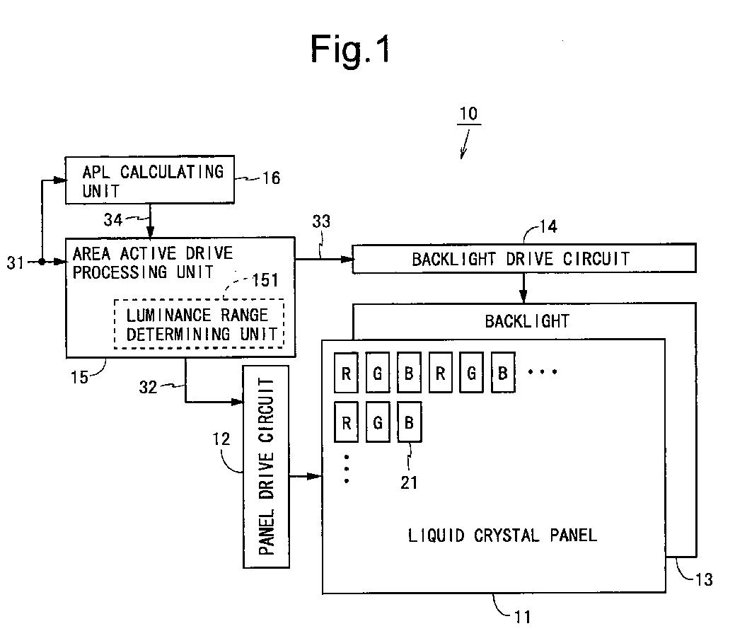
Image display device and image display method
授权日
1900-01-01
公开(公告)号
EP2237258A1
申请日
2008-10-09
公开(公告)日
2010-10-06
当前申请(专利权)人
SHARP KABUSHIKI KAISHA
发明人
FUJIWARA, KOHJI | OTOI, KATSUYA | HASHIMOTO, KATSUTERU
简单同族
CN101861618A | CN101861618B | EP2237258A1 | EP2237258A4 | JP4979776B2 | JPWO2009096068A1 | US20100225574A1 | WO2009096068A1
简单同族成员数量
8
简单同族被引用专利总数
91
诉讼案件数
0
法律状态/事件
撤回
抱歉,您的浏览器不支持PDF预览,请点击链接下载PDF文件