专利数据库
统计分析
产业报告
专利数据监控
产业人才
行业动态
产业政策法规
维权援助
个人中心
详情
文本
图像
标题
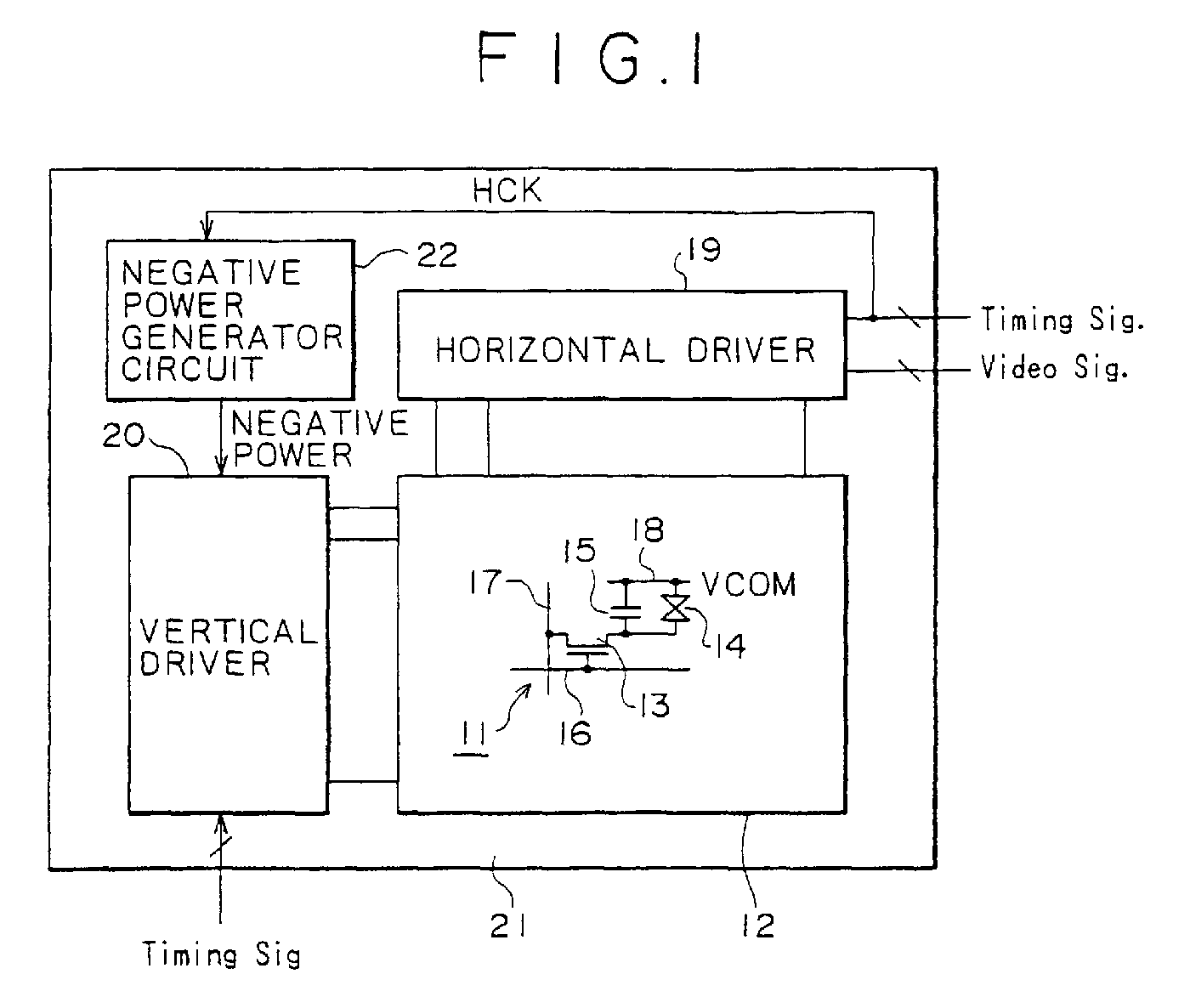
Power generator circuit, power generating method and liquid crystal display device using the circuit and/or the method
授权日
1900-01-01
公开(公告)号
EP1030288A3
申请日
2000-02-18
公开(公告)日
2000-12-06
当前申请(专利权)人
SONY CORPORATION
发明人
MAEKAWA, TOSHIKAZU, SONY CORPORATION | NAKAJIMA, YOSHIHARU, SONY CORPORATION | MORITA, SHINTAROU, SONY CORPORATION
简单同族
EP1030288A1 | EP1030288A3 | EP1030288B1 | JP2000305504A | JP4576652B2 | KR100648139B1 | KR1020000058088A | US20030117354A1 | US6509894
简单同族成员数量
9
简单同族被引用专利总数
67
诉讼案件数
0
法律状态/事件
权利终止
抱歉,您的浏览器不支持PDF预览,请点击链接下载PDF文件