专利数据库
统计分析
产业报告
专利数据监控
产业人才
行业动态
产业政策法规
维权援助
个人中心
详情
文本
图像
标题
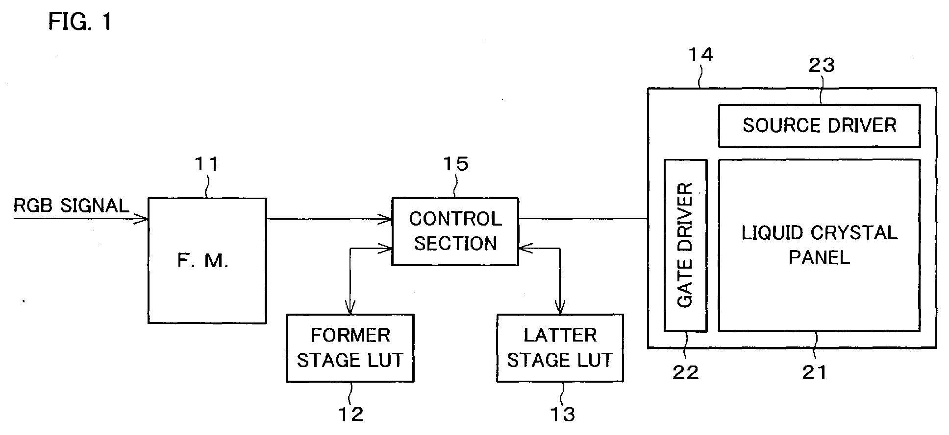
Display device, liquid crytal monitor, liquid crystal television receiver, and display method
授权日
1900-01-01
公开(公告)号
EP1564714A2
申请日
2005-01-21
公开(公告)日
2005-08-17
当前申请(专利权)人
SHARP KABUSHIKI KAISHA
发明人
MIYATA, HIDEKAZU | ISHIHARA, TOMOYUKI | TOMIZAWA, KAZUNARI
简单同族
CN100565648C | CN101667410A | CN101667410B | CN1658269A | EP1564714A2 | EP1564714A3 | EP1564714B1 | JP2005234552A | JP4197322B2 | KR100684810B1 | KR100963935B1 | KR101069210B1 | KR1020050076713A | KR1020060084835A | KR1020060088857A | TW200601253A | TWI317119B | US20050184944A1 | US20110157477A1 | US7932915 | US8520036
简单同族成员数量
21
简单同族被引用专利总数
160
诉讼案件数
0
法律状态/事件
权利终止
抱歉,您的浏览器不支持PDF预览,请点击链接下载PDF文件