专利数据库
统计分析
产业报告
专利数据监控
产业人才
行业动态
产业政策法规
维权援助
个人中心
详情
文本
图像
标题
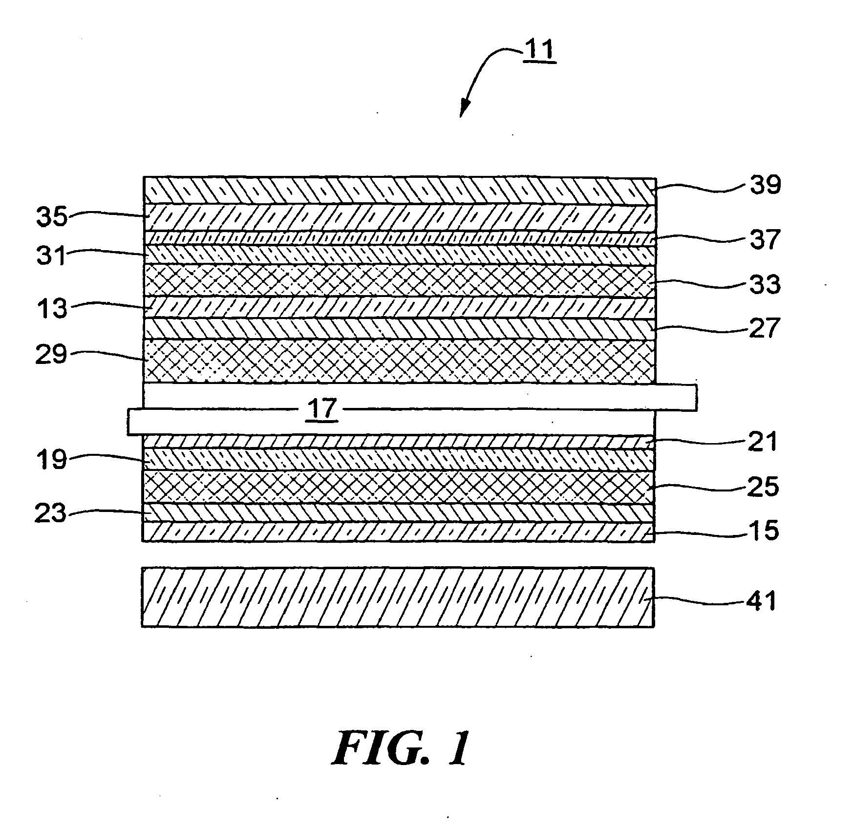
Super bright low reflectance liquid crystal display
授权日
2009-07-22
公开(公告)号
EP1169666B1
申请日
2000-01-04
公开(公告)日
2009-07-22
当前申请(专利权)人
WHITE ELECTRONIC DESIGNS CORP.
发明人
SANELLE, JOSEPH, J. | BREILING, DIGGY, R.
简单同族
AU2000025985A1 | CA2359228A1 | CA2359228C | DE60042590D1 | EP1169666A1 | EP1169666A4 | EP1169666B1 | TWI280443B | US6181394 | WO2000043832A1
简单同族成员数量
10
简单同族被引用专利总数
158
诉讼案件数
0
法律状态/事件
期限届满
抱歉,您的浏览器不支持PDF预览,请点击链接下载PDF文件