专利数据库
统计分析
产业报告
专利数据监控
产业人才
行业动态
产业政策法规
维权援助
个人中心
详情
文本
图像
标题
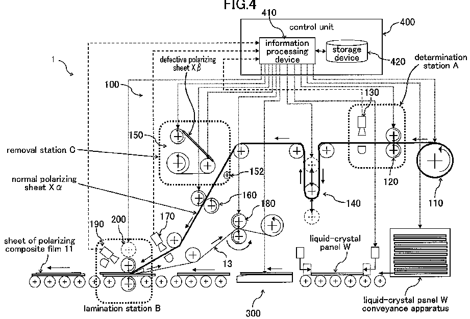
Method and system for continuously manufacturing liquid-crystal display element
授权日
1900-01-01
公开(公告)号
EP2315071A1
申请日
2010-09-10
公开(公告)日
2011-04-27
当前申请(专利权)人
NITTO DENKO CORPORATION
发明人
NAKAZONO, TAKUYA | KITADA, KAZUO | YURA, TOMOKAZU | KOSHIO, SATORU | SHIBATA, SHOUJI
简单同族
AT530943T | CN102043278A | CN102043278B | EP2315071A1 | EP2315071B1 | JP2011085630A | JP4503691B1 | KR101011455B1 | PL2315071T3 | TW201113600A | TWI341417B | US20110083789A1 | US7993476
简单同族成员数量
13
简单同族被引用专利总数
54
诉讼案件数
0
法律状态/事件
授权
抱歉,您的浏览器不支持PDF预览,请点击链接下载PDF文件