专利数据库
统计分析
产业报告
专利数据监控
产业人才
行业动态
产业政策法规
维权援助
个人中心
详情
文本
图像
标题
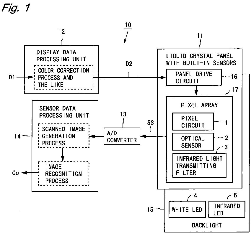
Display device with photosensor
授权日
1900-01-01
公开(公告)号
EP2249201A4
申请日
2009-02-16
公开(公告)日
2011-08-10
当前申请(专利权)人
SHARP KABUSHIKI KAISHA
发明人
FUJIOKA, AKIZUMI | GOTOH, TOSHIMITSU | KUBOTA, AKINORI | UEHATA, MASAKI
简单同族
BRPI0909099A2 | CN101960372A | CN101960372B | EP2249201A1 | EP2249201A4 | JP5208198B2 | JPWO2009110294A1 | RU2010140395A | RU2456660C2 | US20110007047A1 | US8416227 | WO2009110294A1
简单同族成员数量
12
简单同族被引用专利总数
97
诉讼案件数
0
法律状态/事件
撤回
抱歉,您的浏览器不支持PDF预览,请点击链接下载PDF文件